Split rivets are metal fasteners with a pre-cut split shank. During installation, the legs splay outward, creating a secure mechanical lock. They are ideal for quick assembly in soft materials like leather, fabric, or plastic, providing strong, permanent fastening without specialized tools.

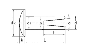
Unit:mm








